信息检索
- 查看往期年报
- 按年检索
-
- 检 索
- 内容检索
- 检 索
- 主 管:攀枝花市西区人民政府
- 编辑出版:攀枝花市西区人民政府办公室
- 地 址:攀枝花市西区苏铁中路262号
- 邮 编:617000
- 电 话:0812-5910065
攀枝花市西区人民政府办公室
关于印发《攀枝花市西区防汛抗旱应急预案(2023年修订)》的通知
攀西府办发〔2023〕15号
格里坪镇人民政府、各街道办事处,区级各部门(单位):
《攀枝花市西区防汛抗旱应急预案(2023年修订)》已经区政府同意,现印发你们,请结合实际认真组织实施。
攀枝花市西区人民政府办公室
2023年6月27日
攀枝花市西区防汛抗旱应急预案
(2023年修订)
目 录
1 总则…………………………………………………………………… 5
1.1 指导思想…………………………………………………………… 5
1.2 编制依据 ……………………………………………………………5
1.3 适用范围 ……………………………………………………………5
1.4 工作原则 ……………………………………………………………6
1.5 工作机制 ……………………………………………………………7
1.6 灾害及响应分级 ……………………………………………………7
1.7 主要任务 ……………………………………………………………7
2 组织体系及职责 ………………………………………………………8
2.1 组织指挥体系 ………………………………………………………8
2.2 工作职责……………………………………………………………10
2.3 专项工作组………………………………………………………… 20
3 预防和监测预警 ………………………………………………………24
3.1 预防 …………………………………………………………………24
3.2 监测预报预警 ……………………………………………………28
3.3 预警响应 …………………………………………………………31
4 应急响应 ……………………………………………………………34
4.1 先期处置 …………………………………………………………34
4.2 启动、终止条件及响应行动 ……………………………………34
4.3 信息报送和发布………………………………………………… 44
4.4 社会力量动员…………………………………………………… 46
4.5 舆论引导 …………………………………………………………46
5 应急保障 ……………………………………………………………46
5.1 通信与信息保障 …………………………………………………46
5.2 应急装备保障…………………………………………………… 47
5.3 应急抢险队伍保障 ………………………………………………47
5.4 供电保障 …………………………………………………………47
5.5 交通运输保障 ……………………………………………………47
5.6 医疗卫生保障…………………………………………………… 48
5.7 治安保障 …………………………………………………………48
5.8 物资保障………………………………………………………… 48
5.9 资金保障 …………………………………………………………48
5.10 技术保障……………………………………………………… 49
6 后期处置………………………………………………………… 49
6.1 物资补充和工程修复……………………………………………49
6.2 调查评估 …………………………………………………………49
6.3 奖励 ………………………………………………………………50
6.4 约谈整改 …………………………………………………………50
6.5 责任追究 …………………………………………………………50
7 附则 …………………………………………………………………50
7.1 预案演练………………………………………………………… 50
7.2 预案管理与更新 …………………………………………………50
7.3 名词术语定义 ……………………………………………………51
7.4 预案解释 …………………………………………………………52
7.5 实施时间 …………………………………………………………52
附件:1.攀枝花市西区防汛抗旱组织指挥体系图 53
2.攀枝花市西区防汛抗旱指挥部专项工作组构成及职责 54
3.攀枝花市西区防汛抗旱应急响应流程图 56
4.攀枝花市西区干旱灾害分级标准 57
5.攀枝花市西区防汛抗旱应急响应启动条件汇总表 58
1总则
1.1指导思想
以习近平新时代中国特色社会主义思想为指导,坚持以人民为中心,坚持人民至上、生命至上,贯彻习近平总书记关于防灾减灾救灾工作的重要论述和“两个坚持、三个转变”防灾减灾救灾理念,始终把保障人民群众生命财产安全放在第一位,统筹发展和安全,推进防汛抗旱体系和能力现代化建设,有效防范重大水旱灾害,维护社会大局稳定。
1.2编制依据
依据《中华人民共和国水法》《中华人民共和国防洪法》《中华人民共和国突发事件应对法》《中华人民共和国防汛条例》《中华人民共和国抗旱条例》《中华人民共和国河道管理条例》《四川省〈中华人民共和国防洪法〉实施办法》《四川省〈中华人民共和国抗旱条例〉实施办法》《四川省防汛抗旱指挥部办公室关于转发国家防总办〈关于加强地方防汛抗旱应急预案修订的指导意见〉的通知》(川防办汛发〔2022〕1号)、《中共攀枝花市西区区委 攀枝花市西区人民政府关于调整完善攀枝花市西区应急委员会的通知》(攀西委〔2022〕93号)等法律法规和文件要求,结合西区实际,制定本预案。
1.3适用范围
本预案适用于全区范围内突发性水旱灾害预防和应急处置。突发性水旱灾害包括:江河洪水、渍涝灾害、山洪泥石流灾害、河道雍塞、堰塞湖、干旱灾害、供水危机及由洪水、地震、恐怖活动等引发的水库水电站垮坝、堤防渠道决口、水闸倒塌等次生衍生灾害。
1.4工作原则
防汛抗旱工作实行区、镇(街道)行政首长负责制,坚持以下原则:
两个坚持、三个转变。坚持以防为主、“防抗救”相结合,坚持常态减灾和非常态救灾相统一,努力实现从注重灾后救助向注重灾前预防转变,从应对单一灾种向综合减灾转变,从减少灾害损失向减轻灾害风险转变。
统一领导、分级负责。各有关部门(单位)要落实“党政同责、一岗双责、齐抓共管、失职追责”要求,坚持分级负责、属地为主、层级响应、协调联动,做好防灾减灾救灾工作。有关部门(单位)依照本预案确定的任务,尽职尽责、密切协作、快速反应、形成合力、积极应对。
预防为主、综合施策。坚持工程与非工程措施相结合,完善防洪抗旱工程体系,突出水旱隐患排查整治,加强预案管理和物资队伍建设,强化监测会商与分析研判,健全预报预警发布机制,针对性开展演练,实现预报、预警、预演、预案的全链条融合。
科学处置、安全第一。险灾情发生后,坚持科学指挥决策,迅速组织专业队伍,及时开展险灾情处置,严防次生灾害发生。处置过程中要始终将抢险救援人员和群众的生命安全放在首位,及时转移受威胁人员。
以专为主、专群结合。加强防汛抗旱专业化队伍建设,积极运用新技术、新手段、新方法,将科学研判、快速处置、精准管控等要求贯穿“防抗救”各环节,不断提升防汛抗旱专业化水平。加强防汛抗旱宣传培训,健全群策群防体系,增强干部群众辨灾识灾、转移避险、自救互救的意识和实战能力。
1.5工作机制
建立防汛抗旱责任体系,落实“三单一书”“两书一函”“四不两直”等工作机制,推动建立跨区域、跨流域、跨部门防汛抗旱联动机制;制定工作规则,厘清各有关部门上下层级间、部门间工作关系,构建分工明确、责任清晰、配合紧密的职责体系,形成统一指挥、高效协同、无缝衔接的“防抗救”一体化格局,以更高标准、更严要求、更快反应、更好效果做好防汛抗旱工作。
1.6灾害及响应分级
根据预警、汛情、险情、灾情的影响程度、范围和发展趋势,区级防汛抗旱应急响应分为一、二、三、四级。
1.7主要任务
减轻灾害风险,做好灾前预防和准备。密切监控雨情、水情、旱情、工情、险灾情,强化会商研判,及时发布预报预警。组织开展应急供水、调水,解决农村因旱人畜饮水困难。组织疏散、转移、解救受威胁人员,及时妥善安置,开展必要的医疗救治。科学运用各种手段开展灾险情处置,严防发生次生、衍生灾害。组织抢救、转移重要物资,管控重大危险源,保护重要民生和军事目标。加强灾害发生地区及周边社会治安管理,保障公共安全,维护社会稳定。
严格落实地方党委政府防汛抗旱救灾主体责任,党政同责、一岗双责、齐抓共管、失职追责,建立健全统一科学高效的组织指挥体系,全面提升防汛抗旱能力。
2.1组织指挥体系
攀枝花市西区防汛抗旱组织指挥体系图见附件1-1。
2.1.1区防汛抗旱指挥部
攀枝花市西区防汛抗旱指挥部(以下简称区防指)是区应急委员会(以下简称区应急委)下设专项指挥部,在区委、区政府和区应急委领导下负责组织、协调、指导全区防汛抗旱工作。
区防指由区政府主要领导任指挥长,分管区政府常务工作的副区长任常务副指挥长,分管水利工作的副区长、区人武部副部长、区水利局局长、区应急管理局局长、区政府办公室联系副主任、市自然资源和规划局西区分局局长、区住房城乡建设局局长,区水利局、区应急管理局分管负责同志任副指挥长。区委宣传部、区发展改革局、区经济和信息化局、区教育和体育局、区民政局、区财政局、区住房城乡建设局、区水利局、区农业农村和交通运输局、区商务局、区文广旅局、区卫生健康局、区应急管理局、区林业局、区综合执法局、市公安局西区分局、市自然资源和规划局西区分局、西区生态环境局、区人武部、区消防救援大队、园区管委会、格里坪镇人民政府、各街道办事处、华荣能源攀枝花中心、攀枝花煤业集团有限责任公司、国网四川省攀枝花市西区供电分公司、中国电信攀枝花市西区分公司、中国移动攀枝花市西区分公司、中国联通攀枝花市西区分公司、中石油四川攀枝花销售分公司、中石化四川攀枝花石油分公司、四川省能投攀枝花水电开发有限公司等单位负责同志为区防指成员。
区防汛抗旱指挥部办公室(以下简称区防办)设在区应急管理局、区水利局,区应急管理局局长和区水利局局长兼任办公室主任;区水利局、区应急管理局、市自然资源和规划局西区分局、区住房城乡建设局各1名分管负责同志任副主任。
2.1.2镇(街道)、村(社区)防汛抗旱组织
镇(街道)设防指,由主要负责人担任指挥长,并明确与防汛抗旱工作任务相适应的工作人员,在上级防指的领导下,负责本区域防汛抗旱工作。
有防汛抗旱任务的行政村、城镇社区设防汛抗旱工作小组,由行政村、社区主要负责人担任责任人,兼任山洪灾害防御责任人,在上级防指的领导下,负责本区域防汛抗旱工作。
2.1.3其他防汛抗旱组织
有关水利工程管理单位、在建涉水工程建设单位、有防汛抗旱任务的大中型企业,应组建专门机构,负责本单位的防汛抗旱工作。
2.2工作职责
区政府加强对防汛抗旱工作的统一领导,实行行政首长负责制。组织有关部门、单位,动员社会力量,采取措施加强防汛抗旱工程设施建设,巩固提高防洪能力;做好水旱灾害后的恢复与救济工作,包括灾区的生活供给、卫生防疫、救灾物资供应、治安管理、学校复课、恢复生产和重建家园等救灾工作以及所管辖地区的各项水毁工程设施修复工作;在本级财政预算中安排资金,用于本行政区域内遭受洪涝干旱灾害地区的抢险救灾和水毁工程修复。
2.2.1区防指职责
区防指在区委、区政府和区应急委领导下,负责组织、协调、指导全区防汛抗旱工作。主要职责是:
(1)严格执行党中央、国务院和国家防汛抗旱总指挥部(以下简称国家防总)、省委省政府、市委市政府关于防汛抗旱的方针政策和决策部署。
(2)贯彻落实区委区政府关于防汛抗旱工作的决策部署,分析研判全区防汛抗旱形势,部署水旱灾害防御工作,加强灾害应对处置工作的全过程统筹并监督执行情况。
(3)督促指导工程治理和非工程措施建设;完善防汛抗旱体系,提升全区防灾减灾能力;督促指导做好思想、责任、措施落实等汛前准备工作;汛期组织会商研判,加强监测预警。
(4)督促指导防汛抗旱突发事件应对处置工作,适时启动防汛抗旱应急响应,科学调度洪水,及时处置险情、灾情;及时发布特别重大、重大或影响较大的防汛抗旱信息。指导镇(街道)对未达到响应级别的防汛抗旱突发事件开展处置工作。
(5)按照区应急委安排,负责组织指挥重大水旱灾害突发事件的应对处置工作。特别重大水旱灾害突发事件发生后,在上级专班工作组,市委、市政府和区委、区政府的领导下开展应对处置工作。
(6)建立完善法规制度、预案体系,加强宣传培训演练,提升群众防灾减灾意识。
(7)完成上级防汛抗旱指挥机构,市委、市政府和区委、区政府交办的其他工作。
2.2.2 区防指领导职责
指挥长:担任全区防汛抗旱工作行政责任人,全面领导、指挥全区防汛抗旱工作,对防汛抗旱工作负总责。
常务副指挥长:协助指挥长组织、指挥、协调全区防汛抗旱工作。负责防汛抗旱应急救援能力建设、灾后恢复重建等工作。
副指挥长:协助指挥长、常务副指挥长落实防汛抗旱各项决策部署和工作要求,按照分工和指挥长、常务副指挥长的安排,做好职责范围内的防汛抗旱工作。区人武部副部长负责组织指挥所属部队和民兵、协调驻攀解放军和入西区支援部队开展抗洪抢险、营救群众等防汛抗旱行动;区水利局主要负责同志统筹“防”和“治”,做好防御洪水应急抢险的技术支撑和保障工作;区应急管理局主要负责同志统筹“救”,协同做好“防”和“治”有关工作。完成指挥长安排的其他任务。
2.2.3区防办职责
区防办承担区防指日常工作,组织、协调、指导、监督全区防汛抗旱工作。负责督促格里坪镇政府、各街道办事处防指(办)认真贯彻国家防总(办)、省委省政府和省防指(办)、市委市政府和市防指(办)、区委区政府和区防指(办)的决策部署。负责综合协调区防指各成员单位开展工作,及时沟通、共享有关信息,向区防指提出重要防汛抗旱指挥、调度、决策建议。
(1)建立完善防汛抗旱工作机制。
(2)安排部署各部门、镇(街道)汛前准备工作并组织开展督促检查,负责本级有关防汛抗旱责任人的汇总上报并公示。
(3)组织开展防汛抗旱值班值守、会商调度、隐患排查、督导检查工作。
(4)组织防汛抗旱应急预案的编制及修订;组织开展防汛抗旱综合演练;负责洪涝干旱灾情统计、核实、上报和发布。
(5)统筹防汛抗旱宣传和信息报送、发布工作;发布区委区政府有关重大决策部署和重大汛情、旱情及防汛抗旱动态等。
(6)负责会议组织、文件起草、档案管理等工作。
(7)完成区委区政府和区防指交办的其他工作。
2.2.4区防指成员单位职责
区防指成员单位是区防汛抗旱组织领导体系的重要组成部分,应根据职责分工,各司其职、各负其责、密切协作,确保防汛抗旱各项工作任务高质量完成。
区人武部:负责组织所属部队执行抗洪抢险、营救群众、转移运送物资、稳定秩序及其他防汛抗旱任务,协同公安机关维护灾区社会秩序;完成区防指交办的其他防灾减灾救灾任务。
区水利局:负责全区水旱灾害防治工作;负责统筹未启动防汛抗旱应急响应时和启动三级、四级防汛抗旱应急响应后的全区水旱灾害应对处置工作;负责指导区防指成员单位对一般水旱灾害突发事件的处置工作;负责承担防御洪水应急抢险的技术支撑和保障工作;负责协助编制修订《西区防汛抗旱应急预案》;负责落实综合防灾减灾规划有关要求,组织编制并实施水旱灾害防治规划和防护标准;承担水情旱情监测预警工作;负责水旱灾害风险普查与区划分级;组织编制区内重要江河湖泊和重要水工程的防御洪水、抗御旱灾调度和应急水量调度方案,按程序报批并组织实施;督促指导水利工程设施、设备的安全运行、应急抢护,负责防洪抗旱工程安全和监督管理;负责指导、协调大型水库、电站移民安全度汛有关工作;负责区防办的有关日常工作,负责区防指有关会议组织、文件起草、简报编印、档案管理等工作。完成区防指交办的其他防灾减灾救灾任务。
区应急管理局:负责对接市防指(办);负责统筹启动一级、二级防汛抗旱应急响应后的全区水旱灾害应对处置工作;负责编制修订《西区防汛抗旱应急预案》;负责洪涝灾区和旱区群众的生活救助,督促、指导各级应急救援演练;建立灾情报告制度,提交区防指依法统一发布灾情;组织开展综合监测预警和水旱灾害综合风险评估工作;协助指导区防指各成员单位对一般水旱灾害突发事件的处置工作;协助全区水旱灾害防治工作;完成区防指交办的其他防灾减灾救灾任务。
区委宣传部:负责职责范围内的防汛抗旱重大信息发布、舆论引导等工作;负责统筹做好防汛抗旱网络舆情管控工作,指导有关部门(单位)做好舆情监测、上报、研判、处置等工作,及时发布有关信息,回应社会关切。完成区防指交办的其他防灾减灾救灾任务。
区发展改革局:负责安排重点防汛抗旱建设项目,积极争取将重大防汛和抗旱工程建设纳入国家基建计划。负责协调各部门开展应急粮食和物资储备、保障、调运工作,保障受灾群众粮食及帐篷、棉被、折叠床等生活类救灾物资供给。按职责分工配合做好能源领域防汛抗旱的组织实施工作,配合做好受灾区域和受灾群众生产生活能源保障有关工作。完成区防指交办的其他防灾减灾救灾任务。
区经济和信息化局:负责防汛抗旱、抢险救灾的煤、电、成品油、天然气紧急调度和铁路运输协调,并按照区防指指令做好应急药品储备保障,指导水电站安全运行,协调区防指防洪调度指令执行到位。完成区防指交办的其他防灾减灾救灾任务。
区教育和体育局:负责组织指导学校防汛减灾工作和校区的防汛安全,组织指导各地师生安全撤离,必要时采取停课、调整上课时间、停止校车运营等措施。完成区防指交办的其他防灾减灾救灾任务。
市公安局西区分局:负责维护防汛抢险秩序和灾区社会治安等工作,协助组织群众撤离和转移。完成区防指交办的其他防灾减灾救灾任务。
区民政局:指导各类社会组织、志愿者规范开展救灾捐赠工作,及时做好统计、分配、使用、公示和反馈等工作;督促指导镇(街道)及时将符合条件的受灾群众纳入临时救助或最低生活保障范围。完成区防指交办的其他防灾减灾救灾任务。
区财政局:负责区级防汛抗旱经费的筹集、拨付和监督管理,及时下拨中央和省、市级防汛抗旱补助资金。完成区防指交办的其他防灾减灾救灾任务。
市自然资源和规划局西区分局:负责指导协调因降雨诱发的山体滑坡、崩塌、地面塌陷、泥石流等地质灾害的监测、预警、防治等工作,做好因降雨突发地质灾害抢险救援的技术保障工作。为防汛抗旱决策提供地理信息支撑。完成区防指交办的其他防灾减灾救灾任务。
区住房城乡建设局:负责制订完善本系统防汛应急预案,并组织实施;负责组织指导城镇建成区排水防涝设施工程建设、城镇建成区内的排涝设施和设备的应急抢护等工作,组织指导对灾区受灾房屋结构安全进行应急评估,为灾区群众应急安置房和灾后返迁房的启用安全提供技术指导;协调组织人防工程防汛抗旱工作,组织人防专业队伍配合做好防汛抢险救灾工作。完成区防指交办的其他防灾减灾救灾任务。
区农业农村和交通运输局:负责公路水路交通行业防汛抗旱工作,指导和协调处置职责范围内公路水路抢通保通和应急运输保障等工作,配合公安交警做好道路交通管制;及时收集、整理和核实全区农业旱涝灾情信息,指导全区农业防汛抗旱和灾后农业救灾、生产恢复及农垦(农场)系统的防洪安全等工作;负责指导、协调大型水库、电站移民安全度汛工作。完成区防指交办的其他防灾减灾救灾任务。
区商务局:负责灾区主要生活必需品市场监测,保障主要生活必需品市场供应,协调防汛抗旱救灾和灾后恢复重建主要生活必需品供应等工作。完成区防指交办的其他防灾减灾救灾任务。
区文广旅局:负责督促文化旅游行业做好防汛减灾、防汛安全、防汛安全信息提示等工作;督促景区景点做好防汛减灾工作,视降雨情况协调、督促A级旅游景区临时关闭。完成区防指交办的其他防灾减灾救灾任务。
区卫生健康局:负责开展灾区卫生防疫和医疗救治工作。完成区防指交办的其他防灾减灾救灾工作。
区综合执法局:负责事权范围内园林绿化和城市公园人工湖泊防汛抗旱,督促燃气企业做好应对洪涝灾害准备工作,确保燃气设施安全度汛。完成区防指交办的其他防灾减灾救灾任务。
区林业局:负责及时收集、整理和反映全区林业旱涝灾情信息,做好林业防汛救灾、生产恢复、灾后生态修复,配合做好防汛抢险工作。完成区防指交办的其他防灾减灾救灾任务。
区消防救援大队:根据险情灾情,按照区防指安排,参与防灾减灾救灾有关工作,承担水旱灾害突发事件抢险救援工作。完成区防指交办的其他防灾减灾救灾任务。
园区管委会:负责组织工业园区内企业(包括在建项目)进行防汛抗旱安全隐患防治宣传教育和培训,建立群策群防体系;组织防汛安全隐患的排查、危险性评估、预防、预案、监测和治理等防治工作;完成区防指交办的其他防灾减灾救灾任务。
格里坪镇人民政府、各街道办事处:负责本辖区内防汛抗旱各项工作。建立健全镇(街道)、村(社区)、村民小组、辖区群众、在建项目和施工人员为主体的群策群防体系。在汛期前编制完成镇(街道)《年度防汛安全隐患防治方案》、辖区内纳入群策群防体系的防汛安全隐患点位的《防汛减灾应急预案》;建立健全隐患排查制度,在辖区开展拉网式隐患排查,做到雨前排查、雨中巡查、雨后核查,确保不留死角、万无一失。对排查出的问题和隐患,逐项梳理,建立问题清单、责任清单、整改台账,实行动态管理,整改一项、销号一项,并实时掌握最新隐患情况。全覆盖无死角实行网格化管理,细分不同层级、不同主体的工作责任,把工作措施和责任落实到灾害发生之前。严格执行“三查、三避让、三个紧急撤离”刚性要求,加强防汛值班值守;向辖区所有存在隐患点的村(社区)和受灾害威胁群众发放山洪灾害防御明白卡;负责在各隐患点设置警示标牌;管理和考核辖区内防汛安全隐患点专职监测人员;落实各防汛安全隐患点的防灾避险场所,为避险场所配备必要物资;组织各隐患点开展防汛应急演练;负责辖区内汛期预警信息的传达和山洪灾害治理工程施工协调工作与后期管护;负责辖区内各类建设项目防汛安全隐患排查,督促项目企业落实防治措施等;完成区防指交办的其他防灾减灾救灾任务。
国网攀枝花市西区供电分公司:负责水电站防汛抗旱电力调度运行、电力设施保障等工作,协助指导水库水电站管理单位执行防汛调度指令。完成区防指交办的其他防灾减灾救灾任务。
中国电信攀枝花市西区分公司:负责所辖通信设施的防洪安全,保障抢险救灾指挥和重要部门、区域的通信和预警信息发布渠道畅通。完成区防指交办的其他防灾减灾救灾任务。
中国移动攀枝花市西区分公司:负责所辖通信设施的防洪安全,保障抢险救灾指挥和重要部门、区域的通信和预警信息发布渠道畅通。完成区防指交办的其他防灾减灾救灾任务。
中国联通攀枝花市西区分公司:负责所辖通信设施的防洪安全,保障抢险救灾指挥和重要部门、区域的通信和预警信息发布渠道畅通。完成区防指交办的其他防灾减灾救灾任务。
2.3专项工作组
发生或预判将发生重大及以上水旱灾害时,区防指根据应急响应等级,设立专项工作组(见附件1-2)。专项工作组数量、成员单位和职责可根据实际需要进行调整。各专项工作组组长由牵头单位有关负责同志担任,负责协调工作组各成员单位共同做好应急处置工作。组内成员单位加强分工合作、协调联动,形成应对合力。
(1)综合协调组。
牵头单位:区应急管理局、区水利局。
成员单位:区发展改革局、市公安局西区分局、市自然资源和规划局西区分局、区农业农村和交通运输局等有关单位。
工作职责:传达贯彻党中央、国务院指示,传达执行国家防总,省委、省政府和市委、市政府指示、部署,做好防汛抗旱综合协调工作。汇总报送灾险情动态和应急工作进展情况等。完成区防指交办的其他任务。
(2)抢险救援组。
牵头单位:区应急管理局、区水利局。
成员单位:区人武部、市公安局西区分局、市自然资源和规划局西区分局、区住房城乡建设局、区农业农村和交通运输局、区消防救援大队、格里坪镇政府、各街道办事处等有关单位。
工作职责:负责组织救援救助受灾群众,统筹各有关力量实施抢险救援救灾工作。完成区防指交办的其他任务。
(3)技术保障组。
牵头单位:区水利局。
成员单位:市自然资源和规划局西区分局等有关单位。
工作职责:负责做好气象、地质等方面信息收集、转发保障。密切监视汛情、险情、灾情及次生、衍生灾害发展态势,及时组织会商研判,为应急抢险救援提供决策咨询。完成区防指交办的其他任务。
(4)通信电力保障组。
牵头单位:区经济和信息化局、国网攀枝花市西区供电分公司。
成员单位:区发展改革局、中国电信攀枝花市西区分公司、中国移动攀枝花市西区分公司、中国联通攀枝花市西区分公司等有关单位。
工作职责:负责应急通信、电力等保障工作;组织抢修供电、供气、通信等设施。完成区防指交办的其他任务。
(5)交通保障组。
牵头单位:区农业农村和交通运输局。
成员单位:市公安局西区分局等有关单位。
工作职责:负责做好交通运输保障。实施必要的交通疏导和管制,维护交通秩序;协调组织优先运送伤员和抢险救援救灾人员、物资、设备。完成区防指交办的其他任务。
(6)灾情评估组。
牵头单位:区应急管理局、区水利局。
成员单位:市自然资源和规划局西区分局、区住房城乡建设局、区农业农村和交通运输局、格里坪镇政府、各街道办事处等有关单位。
工作职责:负责水旱灾害事件灾情统计、核查和灾害损失评估、灾害调查评估。完成区防指交办的其他任务。
(7)群众安置组。
牵头单位:区应急管理局、区发展改革局。
成员单位:区教育和体育局、区民政局、区财政局、市自然资源和规划局西区分局、区住房城乡建设局、区水利局、区商务局、区文广旅局、格里坪镇政府、各街道办事处等有关单位。
工作职责:负责受灾群众(游客)转移安置和基本生活保障。对安置场所进行灾害风险评估;及时组织调拨救灾款物,视情开展救灾捐赠;做好受灾人员家属抚慰和因灾遇难人员遗体处置工作。完成区防指交办的其它任务。
(8)医疗救治组。
牵头单位:区卫生健康局。
成员单位:区经济和信息化局等有关单位。
工作职责:负责医疗救(援)治和卫生防疫工作。加强医疗物资的组织调度,做好救援人员的医疗保障工作;做好洪灾及次生、衍生灾害发生后疾病预防控制和卫生监督工作。完成区防指交办的其它任务。
(9)社会治安组。
牵头单位:市公安局西区分局。
成员单位:区人武部等有关单位。
工作职责:负责灾区社会治安维稳工作。预防和打击各类犯罪活动,预防和处置群体事件;做好灾区重要目标安全保卫工作。完成区防指交办的其他任务。
(10)宣传报道组。
牵头单位:区委宣传部。
成员单位:区水利局、区应急管理局、区文广旅局、市公安局西区分局等有关单位。
工作职责:统筹新闻报道工作。做好现场发布会和新闻媒体服务管理;组织开展舆情监测研判,加强舆情管控。完成区防指交办的其他任务。
(11)紧急撤离组。
牵头单位:区水利局、市自然资源和规划局西区分局。
成员单位:区人武部、格里坪镇政府、各街道办事处等有关单位。
工作职责:危险隐患点发生强降雨时立即紧急撤离受威胁群众;接到暴雨蓝色及以上预警或预警信号立即组织高风险区域群众紧急撤离;出现险情征兆或对险情不能准确研判时立即紧急撤离受威胁群众。完成区防指交办的其他任务。
(12)其他工作组。
牵头单位、成员单位和工作职责等根据需要调整设置。
3预防和监测预警
3.1预防
防汛抗旱工作应按照“两个坚持、三个转变”防灾减灾救灾理念,在城乡建设、工程选址、各种规划中提前考虑规避灾害风险,充分做到灾前预防,全面提升全社会抵御自然灾害的综合防范能力。各级防指按照职能职责,从思想认识、组织管理和技术保障上充分做好水旱灾害的预防准备工作。
(1)思想准备。贯彻落实党中央、国务院和省委省政府、市委市政府、区委区政府关于防灾减灾救灾工作的部署和要求,加强宣传动员,汛前、汛中定期组织各种形式的宣传活动,宣讲《中华人民共和国防洪法》《中华人民共和国突发事件应对法》《中华人民共和国防汛条例》《中华人民共和国抗旱条例》和《四川省〈中华人民共和国防洪法〉实施办法》《四川省〈中华人民共和国抗旱条例〉实施办法》等防汛抗旱法律法规,增强全区领导干部风险意识和底线思维,增强全民防御水旱灾害和自我保护意识,做好防大汛、抗大旱、抢大险、救大灾的思想准备。
(2)组织准备。建立健全组织体系,全面梳理建立领导干部责任清单、部门职责清单、隐患风险清单和一项承诺书,理顺防灾减灾救灾工作机制,完善监测预警、指挥调度、会商研判、值班值守等制度,落实防汛抗旱责任,逐级落实并公示江河、水库水电站、山洪灾害危险区、城镇等各级各类防汛抗旱责任人,加强防汛抗旱队伍建设和管理。
(3)工程准备。做好堤防、水库水电站、河道整治、涵闸、泵站等各类水工程运行准备,按要求完成防汛抗旱工程建设和水毁工程修复建设任务,对存在病险的防洪工程等实行应急除险加固,对在建的涉水工程设施和病险工程落实安全度汛方案和工作措施。补齐排水防涝设施短板,逐步形成城市排水防涝工程体系,系统化推进城市内涝治理,保障城市运行。
(4)预案准备。有防汛抗旱任务的区级部门、镇(街道)、基层组织、企事业单位和社会团体要及时编制和修订防汛抗旱应急预案,并根据实际情况,制定配套的工作手册、行动方案等支撑性文件,构建上下衔接、横向协同、高效完备的应急预案体系。
(5)物资队伍准备。明确防汛抗旱物资品种、数量,足额补充和储备防汛抗旱抢险救灾物资,确保急需时可调可用。统计梳理掌握综合性抢险救援队伍以及其他专业救援力量情况,建强补齐“一主两辅”基层应急力量体系,加强抢险救援队伍培训,组织开展综合应急演练或桌面推演,有效提升救援和处置能力。
(6)通信准备。根据职能职责,分级完善监测预警网络,健全预警发布机制,畅通预警发布渠道,确保覆盖到村(社区)、到户、到人;分级检查和维护防汛抗旱通信专网和监测预警设施设备,保障其正常使用;加强水旱灾害多发易发频发地区通信网络容灾抗毁能力建设,提升基层应急通信网络设备覆盖率。
(7)风险辨识管控。各有关部门(单位)要结合本区域本行业(系统)实际,组织开展水旱灾害风险辨识,明确风险点及种类,列出风险清单,加强风险评估、管控,制定并落实有关管控措施。
(8)隐患排查治理。要采取群专结合、人技结合、点面结合等方式,充分运用新技术新方法,聚焦水旱灾害易发的重点区域、重点部位和重要设施,全面开展水旱灾害风险隐患排查。坚持开展“雨前排查、雨中巡查、雨后核查”,健全各部门(单位)、基层干部群众联防联动和隐患动态监管机制。对发现的风险隐患登记、评估、整改和处置,及时消除和控制风险,不能及时处置的,要落实好责任人和针对性应急措施。
(9)汛前检查。区、镇(街道)防指成员单位组成工作组,由科级领导带队赴镇(街道)开展汛前检查。检查中央、省、市有关部署落实、防汛减灾责任体系建立、体制机制建立完善、能力建设、防汛抗旱工作职责界限和责任衔接、风险隐患排查治理及防汛经费使用管理、物资储备、抢险救援力量配置、宣传培训演练、方案预案编制等应急保障落实情况,防汛重点部位和关键环节防范措施落实情况,重点防灾减灾项目推进情况,查找防汛抗旱工作存在的薄弱环节,明确责任,限时整改。
(10)组织演练。镇(街道)、各部门(单位)要适时组织开展针对性演练,所有水库水电站、在建涉水工程、山洪灾害危险区每年应组织专项演练。演练要突出实战性、实效性,针对当地易发生的各类险情灾情,组织有关责任人、受威胁群众、抢险救援队伍等广泛参加,充分考虑夜间、降雨、涨水和交通、通信、电力中断等因素,涵盖监测预警、工程调度、转移安置、抢险处置、救援等内容。
(11)宣传培训。结合实际,建立培训制度,定期不定期组织责任人、管理人员、成员单位人员等开展防汛抗旱培训,提升防灾减灾救灾能力和防范化解风险水平。深入推进防汛减灾宣传进企业、进农村、进社区、进学校、进家庭,全面增强公众防汛减灾意识、强化自救互救能力。
3.2监测预报预警
3.2.1监测
(1)雨水情。区水利局、区农业农村和交通运输局为防汛抗旱监测信息的主要提供单位,按照部门职能职责,合理布设雨、水、墒情站网,加强监测,及时、准确、全面向区防指提供监测成果。区防指应向区水利局等成员单位适时提出要求,实时掌握天气形势和江河水势变化。区水利局定期对各类水利工程蓄水情况进行统计、汇总、审核、分析,及时、准确向区防指提供监测成果。
(2)工情。水库方面:根据管理权限,区水利局要根据报汛报旱任务书要求,及时上报水库水位、入库流量、出库流量、蓄水量等监测信息。在水库水位超过汛限水位时,应对大坝、溢洪道、放水设施等关键部位加密监测,并按照批准的洪水调度方案进行调度,报告工程运行状况。当水库发生险情后,落实专人监测,及时进行应急抢护处理并向主管部门和区防指报告。辖区内梅子箐水库、龙洞水库、三洞桥水库发生重大险情应在险情发生后20分钟内上报至区防指并抄报市防指。堤防方面:堤防工程管理单位负责对所管辖堤防(含护岸)进行日常巡查检查。出现警戒水位以上洪水时,加强监测并及时向主管部门报送运行情况。发生险情后,落实专人监测,及时进行应急抢护处理并向主管部门和区防指报告。大江大河堤防发生重大险情应在险情发生后20分钟内上报至区防指并抄报市防指。其他方面:水闸、涵洞、渠道、渡槽等其他涉水建筑物工程管理单位要对所管辖的涉水建筑物进行日常巡查检查。当江河出现警戒水位以上洪水时,各级水闸、涵洞等其他涉水建筑物管理单位应加强监测,并将运行情况报主管部门。发生险情后,要落实专人监测,及时进行应急抢护处理并向主管部门和区防指报告。
(3)堰塞湖险情。出现堰塞湖险情后,区防指立即组织核实堰塞湖库容、上游来水量、堰塞体物质组成、堰塞体形态、淹没区及溃决洪水影响区的风险人口、城镇、公共或重要设施、生态环境等,按照《堰塞湖风险等级划分与应急处置技术规范》(SL/T450-2021),明确堰塞湖风险等级,由责任部门(单位)组织开展应急监测和安全监测,并将有关情况报上级防指。
(4)城市内涝。区住房城乡建设局、区综合执法局等部门要加强对重要易涝点位的监测管控,合理布设监测设施,提高城市内涝智慧化监测水平。
(5)旱情。区防指、镇(街道)防指应掌握水雨情变化、蓄水情况、农田土壤墒情和城乡供水情况,加强旱情监测。
(6)灾情。区防指、镇(街道)防指应及时收集、核实、汇总、上报洪涝和干旱灾情。
3.2.2预报
区水利局对雨水情加强跟踪分析研判。在提供主要江河控制站预报的同时,加强中小河流洪水预报。
区防指加强组织会商,定期不定期分析研判雨水情、旱情、险情和灾情趋势并及时通报。
3.2.3预警分类分级
按照有关行业标准,结合西区汛情特点,分为暴雨、干旱、江河洪水、山洪灾害风险四类预警。暴雨、江河洪水、山洪灾害风险预警级别从高到低划分为红色、橙色、黄色、蓝色四个等级,干旱预警从高到低划分为橙色、黄色、蓝色三个等级。
3.2.4预警发布
区防指、镇(街道)防指加强预警信息管理,建立预警信息共享发布机制,实现预警信息权威统一发布,提高预警信息发布的时效性和覆盖面。
(1)发布权限。区水利局等部门负责确定预警区域、级别,报区防指,并按相应权限发布。区水利局负责发布暴雨、干旱预警和江河洪水、山洪灾害气象风险预警。
(2)发布方式。抓紧畅通信息传递“最后一公里”,提高信息发布面和实效性。预警信息的发布和调整情况要及时通过广播、电视、手机、报刊、通信与信息网络、警报器、宣传车、大喇叭或组织人员逐户通知等方式进行宣传。
(3)预警对象。预警发布单位根据预警级别明确预警对象,其中对学校、医院、旅游景区、在建工地、移民安置点、山洪灾害危险区等特殊场所以及老、幼、病、残、孕等特殊人群应当进行针对性预警。
(4)信息反馈。按照分级负责、归口管理方式,有关部门(单位)接收到预警信息后,立即组织部署防范应对工作,并及时向发布预警信息的单位反馈。结合实际制定预警信息终端反馈机制,压紧压实工作责任,明确专人负责预警信息反馈,畅通预警信息反馈渠道,确保预警信息发挥实效。
(5)信息通道保障。区委宣传部、区文广旅局、区经济和信息化局以及电信、移动、联通三大运营商等单位要做好预警信息发布通道保障工作。
3.3 预警响应
3.3.1响应措施
当发布蓝色、黄色预警时,区防指指挥长组织会商调度,当发布橙色、红色预警时,区防指主要负责同志组织会商调度。预警信息发布后,各有关部门(单位)根据预警级别和实际情况,按照分级负责、属地为主、层级响应、协调联动的原则,采取相应防范措施。
(1)密切关注雨情、水情、旱情,提高监测频次,滚动更新预报,及时发布传递预警信息。
(2)组织有关部门(单位)和专家召开会商调度会,研判防汛抗旱形势,及时发送研判成果。
(3)加强水库水电站、堤防、山洪灾害危险区、在建工地、移民安置点等部位和区域的巡查值守,及时报送有关信息。
(4)组织有关责任人、专业抢险救援队伍和负有特定职责的人员进入待命状态,动员后备人员做好准备,视情预置有关队伍、装备、物资等资源。调集抢险救援所需物资、设备、工具,准备转移安置场所。
(5)按照“三个避让、三个紧急撤离”要求,坚决疏散、转移易受威胁人员并做好安置和安全管理工作。
(6)关闭或限制使用易受洪涝灾害危害的场所,控制或限制容易导致危害扩大的公共场所活动,受威胁企业停工停产撤人,转移重要物资,管控重大危险源。
(7)媒体单位优先做好预警信息传播和应急宣传工作,视情不间断滚动播报预警和雨水情信息。
(8)视情对预警地区防汛抗旱工作进行督促和指导。
(9)汛期根据需要,区防指领导在指挥机构坐镇指挥,统筹协调,把握全局。重要险情、灾情,由防指领导深入一线、靠前指挥、现场督察,迅速组织开展抢险救援工作,可视情设立现场临时指挥部。防指和成员单位加强值班值守和信息报送。
3.3.2区防指预警响应
当市气象部门发布暴雨红色、橙色、黄色预警,或连续两天发布暴雨蓝色预警,按本预案启动相应级别防汛应急响应。当发布暴雨蓝色预警后,区防指和有关成员单位采取以下响应措施:
(1)风险研判。有关成员单位对灾害风险进行会商研判,结果及时共享并报送区防指。
(2)指挥调度。区领导组织会商调度时,有关成员单位参加并通报情况或安排部署本行业领域防灾减灾工作。区领导未组织时由区水利局牵头组织会商,有关成员单位参加。根据需要,有关成员单位分别组织本行业系统调度。
(3)安排部署。向有关区域和部门传达省、市、区领导有关指示批示精神,部署防范应对工作,提出工作要求,跟踪工作落实情况,并按要求及时报送情况。
(4)督促指导。区防指视情派工作组赴预警区域,督促指导属地做好转移避险、“关、停、限”、工程调度、排查巡查、值班值守、物资队伍准备等防范应对工作。
(5)应急准备。视情通知提醒有关区级应急队伍和人员进入待命状态,检查准备区级救援救灾物资装备,并确保其处于良好状态,随时可以投入正常使用。
(6)值班值守。区防指和有关成员单位要加强值班值守,按职责分工动态了解掌握有关信息,并及时向区防指报告。应急响应期间,有关部门要按照区防指工作要求向市防指派驻人员开展联合值守、集中办公,加强信息资源共享,形成防灾抗灾合力。
4应急响应
按照严重程度、影响范围,水旱灾害分为特别重大水旱灾害(包括特别重大洪涝灾害和特别重大干旱灾害)、重大水旱灾害(包括重大洪涝灾害和重大干旱灾害)、较大水旱灾害(包括较大洪涝灾害和较大干旱灾害)、一般水旱灾害(包括一般洪涝灾害和一般干旱灾害)四级。
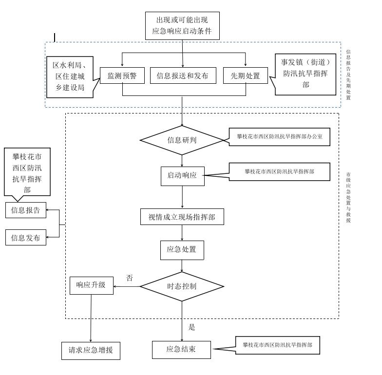
区级应急响应分为防汛应急响应和抗旱应急响应。区防指适时启动、终止对应级别应急响应。攀枝花市西区防汛抗旱应急响应流程图见附件1-3。
4.1先期处置
建立健全统一指挥、有序高效的应急联动和快速反应机制。灾害发生后,区防指加强组织领导,及时启动应急响应,视情成立现场指挥部,摸排掌握险情灾情,开展会商研判,在高风险区域采取“关、停、限”措施,迅速调集专业队伍,科学开展现场处置,组织干部群众开展自救互救,做好信息发布和舆情引导,按规定向上级防指报告。
4.2启动、终止条件及响应行动
4.2.1四级应急响应
(1)启动条件和程序。
当出现或可能出现下列情形之一,区防指有关成员单位根据影响程度、范围和发展趋势,及时向区防办提出启动应急响应建议,区防办组织综合会商研判后提出意见,由区防指副指挥长批准后启动四级应急响应。
1.暴雨预警:省、市气象台发布黄色预警或连续2天发布蓝色预警。
2.江河洪水重现期:洪峰或洪量重现期大于20年一遇(含20年)、小于50年一遇。
3.城市内涝:道路积水深度大范围在0.3米以上、0.5米以下,部分区域停电停水停气、交通中断或瘫痪,城市运行受到影响。
4.水库:一般小(1)型水库、小(2)型水库发生可能导致溃坝的险情。
5.堰塞湖:出现按《堰塞湖风险等级划分与应急处置技术规范》(SL/T450—2021)划分的Ⅲ级风险堰塞湖。
6.堤防:主要江河城区堤段或一般江河城区堤段发生险情。
7.干旱:发生一般干旱灾害。
8.其他:其他需要启动四级应急响应的情况。
(2)响应行动。
1.安排部署。区防指副指挥长(区水利局主要负责同志)主持召开会商调度会了解掌握汛情、险情、旱情、灾情及重要工情等信息,研判防汛抗旱形势,部署防汛抗旱救灾有关工作,督促指导采取转移避险、“关、停、限”等措施。
2.组织指挥。区防指根据需要及时派出工作组、专家组赴一线督促指导防汛抗旱救灾工作,区防指成员单位按职责分工加强应对工作。区防指副指挥长坐镇区防汛抗旱指挥中心指挥。
3.信息报送。区防指迅速将应急响应启动及防汛抗旱救灾等情况报告市防指、区委、区政府并通报区防指各成员单位。区防指各成员单位及时向区防办报送本部门有关工作情况。
4.值班值守。区防指强化值班值守,加强协调、督导事关全局的防汛抗旱调度,并与有关镇(街道)加强视频会商,及时作出针对性安排布置。
5.舆论宣传。区防指根据需要及时发布有关信息,有关成员单位协调媒体做好防汛抗旱救灾工作报道,加强舆论引导工作。
(3)响应终止。
当灾害已经或趋于结束时,由区防办提出响应终止建议,区防指副指挥长批准。响应结束后,有关部门单位按职责分工,核实灾害损失和人员伤亡情况,并做好灾后恢复重建工作。
4.2.2三级应急响应
(1)启动条件和程序。
当出现或可能出现下列情形之一,区防指有关成员单位根据影响程度、范围和发展趋势,及时向区防办提出启动应急响应建议,区防办组织综合会商研判后提出意见,由区防指常务副指挥长批准后启动三级应急响应。
1.暴雨预警:省、市气象台发布橙色预警或连续2天发布黄色预警。
2.江河洪水重现期:全区范围内主要江河出现洪峰或洪量重现期大于20年一遇(含20年)、小于50年一遇;1座及以上县城洪峰或洪量重现期大于50年一遇(含50年)、小于100年一遇。
3.城市内涝:道路积水深度大范围在0.5米以上、1米以下,引发城市部分区域停电停水停气、交通中断或瘫痪,城市运行受到较大影响。
4.水库:一般中型水库、重点小(1)型水库出现可能导致溃坝的险情或小(2)型水库发生垮坝。
5.堰塞湖:出现按《堰塞湖风险等级划分与应急处置技术规范》(SL/T450—2021)划分的Ⅱ级风险堰塞湖。
6.堤防:主要江河城区堤段或一般江河城区堤段发生重大险情。
7.干旱:发生较大干旱灾害。
8.其他:其他需要启动三级应急响应的情况。
(2)响应行动。
1.安排部署。区防指副指挥长(区水利局主要负责人)主持召开会商调度会,了解掌握汛情、险情、旱情、灾情及重要工情等信息,研判防汛抗旱形势,部署做好防汛抗旱救灾有关工作,督促指导采取转移避险、“关、停、限”等措施。
2.组织指挥。区防指及时派出工作组、专家组赴一线督促指导防汛抗旱救灾工作。区防指常务副指挥长或常务副指挥长安排的副指挥长坐镇区防汛抗旱指挥中心指挥。
3.专项工作组。视情启动部分专项工作组。区防指成员单位各司其职,全力开展抗灾救灾工作。
4.信息报送。区防指迅速将应急响应启动及防汛抗旱救灾等情况报告市防指、区委、区政府,并通报区防指各成员单位。区防指各成员单位及时向区防办报送本部门有关工作情况。
5.值班值守。区防指强化值班值守,加强协调、督导事关全局的防汛抗旱调度,并与有关镇(街道)加强视频会商,及时作出针对性安排布置。有关成员单位的联络员与区防汛抗旱指挥中心保持电话畅通。
6.舆论宣传。区防指根据需要及时发布有关信息,有关成员单位协调媒体做好防汛抗旱救灾工作报道,加强舆论引导工作。
(3)响应终止。
当灾害已经或趋于结束时,由区防办提出响应终止建议,区防指常务副指挥长批准。响应结束后,有关部门和单位按职责分工,核实灾害损失和人员伤亡情况,并做好灾后恢复重建工作。
4.2.3二级应急响应
(1)启动条件和程序。
当出现或可能出现下列情形之一,区防指有关成员单位根据影响程度、范围和发展趋势,及时向区防办提出启动应急响应建议,区防办组织综合会商研判后提出意见,由区防指指挥长批准后启动二级应急响应。
1.暴雨预警:省、市气象台发布红色预警或连续2天发布橙色预警。
2.江河洪水重现期:全区范围内主要江河出现洪峰或洪量重现期大于50年一遇(含50年)、小于100年一遇;洪峰或洪量重现期大于100年一遇(含100年)。
3.城市内涝:城市道路积水深度部分在1米以上,城市较大面积停电停水停气、交通中断或瘫痪,城市运行受到严重影响。
4.水库:重点中型及以上水库水电站出现可能导致溃坝险情,重点小(1)型水库垮坝。
5.堰塞湖:出现按《堰塞湖风险等级划分与应急处置技术规范》(SL/T450—2021)划分的I级风险堰塞湖。
6.堤防:主要江河非城区堤防段或一般江河城区堤防段发生溃决。
7.干旱:发生重大干旱灾害。
8.其他:其他需要启动二级应急响应的情况。
(2)响应行动。
1.安排部署。区防指指挥长指挥全区水旱灾害应对处置工作。根据需要,主持召开会商调度会,了解掌握汛情、险情、旱情、灾情及重要工情等信息,研判防汛抗旱形势,部署做好防汛抗旱救灾有关工作,督促指导采取转移避险、“关、停、限”等措施。
2.组织指挥。指挥长或常务副指挥长带领工作组、专家组赴灾害现场组织指挥防范应对工作,与受灾镇(街道)组建前方联合指挥部。多地受灾特别严重时,成立前方分指挥部。区防指指挥长或指挥长安排的其他副指挥长坐镇区防办指挥中心指挥。
3.专项工作组。区防指启动专项工作组,区防指成员单位按照急事急办、特事特办的原则,按职责分工全力开展抢险救援、技术保障、通信电力保障、交通保障、灾情评估、群众安置、医疗救治、社会治安等防汛抗旱抢险救灾工作。
4.信息报送。区防指迅速将应急响应启动及防汛抗旱救灾等情况报告市防指、区委、区政府,并通报区防指各成员单位。视情请求市级专家、队伍、装备和物资等方面给予支援。
5.值班值守。区防指强化值班值守,加强协调、督导事关全局的防汛抗旱调度,并与有关镇(街道)加强视频会商,及时作出针对性安排布置。区防指各成员单位及联络员保持通信畅通,有关成员单位派联络员到区防办指挥中心值班值守,负责协调、处理、报告本单位有关工作。
6.舆论宣传。区委宣传部组织新闻媒体及时播报发布暴雨、洪水和指挥部公告等信息。有关成员单位视情协调新闻媒体赴灾区有序采访防汛抗旱救灾工作,并做好正面宣传报道,正向引导舆论。区防指收集舆情信息,适时召开新闻发布会,回应关切。
7.灾情管理。应急响应期间灾情统计实行归口管理、统一上报和发布。区应急管理局负责组织指导全区洪旱灾情核查、损失评估,灾情经会商审定后由区委宣传部负责发布,归口报送。
8.社会动员。动员社会各方面力量全力做好防大汛、抢大险、救大灾工作,发动群众开展自救互救工作,动员引导市民减少外出,及时采取避险防范措施。
(3)响应终止。
当灾害已经或趋于结束时,由区防办提出响应终止建议,区防指指挥长批准。响应结束后,有关部门单位按职责分工,核实灾害损失和人员伤亡情况,并做好灾后恢复重建工作。
4.2.4一级应急响应
(1)启动条件和程序。
当出现或可能出现下列情形之一,区防指有关成员单位根据影响程度、范围和发展趋势,及时向区防办提出启动应急响应建议,区防办组织综合会商研判后提出意见,由区防指指挥长同意后启动一级应急响应。
1.暴雨预警:省、市气象台连续2天发布红色预警。
2.江河洪水重现期:全区范围内主要江河出现洪峰或洪量重现期大于100年一遇(含100年)。
3.城市内涝:道路积水深度大范围在1米以上,引发大面积停电停水停气、交通中断或瘫痪,城市运行受到严重影响。
4.水库:重点中型及以上水库(水电站)垮坝。
5.堤防:主要江河城区堤防段发生溃决。
6.干旱:发生特别重大干旱灾害(四川省干旱灾害分级标准见附件1-4,下同)。
7.其他:其他需要启动一级应急响应的情况。
(2)响应行动。
1.安排部署。区防指指挥长组织指挥全区水旱灾害应对工作。根据需要,区防指指挥长组织召开全区紧急动员会,部署做好防汛抗旱救灾有关工作;督促指导采取转移避险、“关、停、限”等措施;召开会商研判会,了解掌握汛情、险情、旱情、灾情及重要工情等信息,研判防汛抗旱形势,及时将情况通报有关成员单位。
2.组织指挥。按照区防指指挥长安排,副指挥长率工作组、专家组赴灾害现场组织指挥防范应对工作,与受灾镇(街道)组建前方联合指挥部。多地受灾特别严重时,成立前方分指挥部。区防指指挥长或指挥长安排的有关区领导坐镇区防办指挥中心指挥,区防指常务副指挥长或副指挥长在区防汛抗旱指挥中心协助区防指指挥长指挥。
3.专项工作组。区防指启动专项工作组,区防指成员单位按照急事急办、特事特办的原则,按职责分工全力开展抢险救援、技术保障、通信电力保障、交通保障、灾情评估、群众安置、医疗救治、社会治安等防汛抗旱抢险救灾工作。
4.信息报送。区防指迅速将应急响应启动及防汛抗旱救灾等情况报告市防指、区委、区政府,并通报区防指各成员单位。视情请求省、市在专家、队伍、装备和物资等方面给予支援。
5.值班值守。区防指强化值班值守,加强协调、督导事关全局的防汛抗旱调度,并与有关镇(街道)加强视频会商,及时作出针对性安排布置。区防指各成员及联络员保持通信畅通,有关成员单位派联络员到区防办指挥中心值班,负责协调、处理、报告本单位有关工作。
6.舆论宣传。区委宣传部组织新闻媒体和基础电信运营商及时播报发布暴雨、洪水和指挥部公告等信息。有关成员单位组织协调新闻媒体赴灾区有序采访防汛抗旱救灾工作,并做好正面宣传报道,正向引导舆论。区防指收集舆情信息,适时召开新闻发布会,回应关切。
7.灾情管理。应急响应期间灾情统计实行归口管理、统一上报和发布。区应急管理局负责组织指导全区洪旱灾情核查、损失评估,灾情经会商审定后由区委宣传部负责发布,归口报送。
8.社会动员。动员社会各方面力量全力做好防大汛、抢大险、救大灾工作,发动群众开展自救互救工作,引导市民减少外出,及时采取避险防范措施。
(3)响应终止。
当灾害已经或趋于结束时,由区防办提出响应终止建议,区防指指挥长批准。响应结束后,有关部门单位按职责分工,核实灾害损失和人员伤亡情况,并做好灾后恢复重建工作。
攀枝花市西区防汛抗旱应急响应启动条件汇总表见附件1-5。
4.3.1报送
防汛抗旱信息的报送和处理由区防指统一负责,应及时快捷、真实全面。汛情、旱情、工情、险情、灾情等有关信息实行分级上报、归口处理、同级共享,并加强数据核对。遇突发险情、灾情,按照《四川省洪涝突发险情灾情报告暂行规定》要求,区防指、镇(街道)防指要及时掌握,做好首报和续报工作,原则上应以书面形式逐级上报,在发生重大突发险情灾情的紧急情况下,可在向上一级防指报送的同时越一级报告。
接到汛情、旱情、险情、灾情等水旱灾害突发事件信息后,要立即如实向同级人民政府及上级防指报告,最迟不得超过1小时,不得迟报、谎报、瞒报和漏报,同时通报可能受影响的地区、部门和企业等。
发生突发重大险情灾情时,区防指应在接报险情灾情30分钟内以电话或其他方式报告,并以书面形式及时补报。大江大河干流重要堤防、涵闸等及大中型水库发生的重大险情,应在险情发生后立即报告区防办。区防办接到重大汛情、旱情、险情和突发灾情报告后,应在20分钟内以电话或其他方式报告市防指、区委、区政府,并做好续报。
4.3.2发布
按照属地为主、分级负责、归口发布的方式做好信息发布工作。区防指统一负责信息发布工作,及时准确、客观全面发布权威信息。重要信息发布前,须征求区委宣传部意见。区委宣传部根据实际情况对发布时机、发布方式等提出建议,对发布材料、问答口径等进行指导,并组织新闻媒体采访报道,做好媒体服务管理工作。
区委、区政府的重大决策部署,全区性或重大的汛情、旱情及防汛抗旱动态等,由区防指统一审核和发布。在区级以上媒体公开报道的稿件,区水利局负责审核汛情、旱情、工情以及防汛抗旱动态等整体情况,区应急管理局负责审核灾情、抢险救援等情况。涉及人员伤亡、经济损失等水旱灾害损失的,由区水利局、区应急管理局会同有关部门共同审核。
4.4社会力量动员
出现水旱灾害后,区防指可根据事件的性质和危害程度,报经区政府批准,对重点地区和重点部位实施紧急控制,防止事态及其危害进一步扩大。必要时可通过区政府调动社会力量参与应急突发事件的处置,紧急情况下可依法征调车辆、物资、人员等,全力投入抗洪抗旱。
4.5舆论引导
加强舆论引导,深入报道党委政府决策部署和抢险救灾工作进展,大力宣传先进模范和典型事迹,营造全社会关心、重视、支持、参与防汛抗旱工作的良好氛围。
5应急保障
区防指、镇(街道)防指要从人员、物资、技术等方面着力提高应对水旱灾害的应急保障能力。
5.1通信与信息保障
区经济和信息化局负责组织、协调、督促和指导各通信运营企业,保障防汛抗旱指挥系统和水利、应急等重要机构的通信网络畅通,利用公用通信网发布应急预警短信。
在紧急情况下,应充分利用广播、电视等新媒体和各种通讯方式以及人民防空警报系统发布预警信息,通知群众快速撤离,保护人民生命财产安全。
5.2应急装备保障
区防指、镇(街道)防指应储备满足抢险所需的常规抢险机械、抗旱设备、物资和救生器材。
5.3应急抢险队伍保障
区防指组建本级专业防汛抗旱抢险队伍,组建水旱灾害防御、抢险救援专家库,统筹组织社会力量积极参与救援工作。
需要驻攀部队(含预备役部队)、武警部队和综合性消防救援队伍参与防汛抗旱抢险时,区政府及区防指要及时商请有关部门按《军队参加抢险救灾条例》及有关规定组织实施。其中,区防指负责联系攀枝花军分区、武警攀枝花支队、市消防救援支队、市森林消防支队、区人武部、区消防救援大队参与防汛抗旱抢险。
5.4供电保障
电力部门负责抗洪抢险、抢排渍涝、抗旱救灾等方面的供电需要和应急救援现场的临时供电保障。
5.5交通运输保障
区农业农村和交通运输局、市公安局西区分局按照职责分工,强化重大生命线工程安全保障,制定相应的应急预案,优先保证防汛抢险人员和防汛抗旱物资的运输,适时实行交通管制,密切配合做好交通运输保障工作。
5.6医疗卫生保障
区卫生健康局负责组织开展水旱灾区卫生防疫和医疗救治工作。
5.7治安保障
市公安局西区分局、区人武部主要负责做好水旱灾区的治安管理工作,依法严厉打击破坏防汛抗旱救灾行动和工程设施安全的行为,保证抗灾救灾工作的顺利进行;负责组织做好防汛抢险、分洪爆破的戒严、警卫工作,维护灾区社会治安秩序。
防汛抗旱物资管理坚持“定额储备、专业管理、保障急需”原则。防汛抗旱物资仓库在汛期和干旱期应随时做好物资调运的各项准备工作,按调令保证防汛抗旱物资快速、安全地运达指定地点。当储备物资消耗过多,不能满足抗洪抢险和抗旱救灾需要时,区防指应联系有资质的厂家紧急生产、调运所需物资,必要时可向社会公开征集。
区政府、镇(街道)应根据《中华人民共和国防洪法》《中华人民共和国抗旱条例》等有关法律法规规定,建立和完善与经济社会发展水平以及防汛抗旱要求相适应的资金投入机制,在本级财政预算中安排必要资金,保障防汛抗旱投入。
区防指在防汛抗旱应急工作中要应用先进的工程抢险技术和现代化的信息技术,逐步建立完善防汛抗旱指挥系统和专家库系统,加强防汛抗旱基础性研究,提高防汛抗旱技术能力和水平。
针对当年产生的防汛抗旱抢险物资消耗,区防指、镇(街道)防指应分级筹措、及时补充防汛抗旱抢险物资。
对影响当年防洪安全和城乡供水安全的水毁工程,应组织突击施工,尽快修复。
遭到毁坏的交通、电力、通信、水文以及防汛专用通信等基础设施,有关部门应按照职责,尽快组织修复,投入正常运用。
区防指应组织对造成较大损失或典型性的水旱灾害事件进行调查评估,复盘分析防范应对处置工作,总结经验教训,制定改进措施。必要时,区防指直接开展调查评估。
区防指应实行防汛抗旱工作年度评估制度,着重对各个方面和环节进行定性定量总结、分析、评估,总结经验,查找不足,分析原因,提出改进完善建议,以进一步做好防汛抗旱工作。
对在防汛抗旱工作中贡献突出的单位和个人,按照国家和地方有关规定给予表彰、表扬、奖励。
对于防汛抗旱工作不力的镇(街道),区防指及时予以提醒,必要时约谈主要负责人,并督促整改到位。
对防汛抗旱工作中责任不落实、发现隐患不作为、处置不得力、敷衍塞责等失职渎职行为,依据有关法律法规纪律严肃追究部门监管责任、管理主体责任,严肃追究领导责任和监管责任。因玩忽职守造成损失的,依据有关法律法规,追究当事人的责任,并依法予以处理。
区防指、镇(街道)防指及有关单位应制定应急演练计划,根据实际情况采取实战演练、桌面推演等方式,每2年至少组织一次各方人员广泛参与、处置联动性强、形式多样、安全高效的应急演练,主要负责人应视情参加。
预案实施后,区防指会同有关部门组织预案学习、宣传和培训,并根据实际情况适时组织评估和修订。
区防指结合当地实际编制防汛抗旱应急预案,经区政府审批,并报市防办备案。有防汛抗旱任务的镇(街道)、村(社区)应急预案应当经本级主要负责人或分管负责人签发,报上一级防汛抗旱指挥机构备案。部门防汛抗旱应急预案经部门主要负责同志批准后印发实施,报区政府备案,并抄送区防指。
各有关部门(单位)要强化防汛抗旱应急预案衔接,按照“下级预案服从上级预案,专项、部门预案服从总体预案,预案之间不得相互矛盾”的原则做好预案编修工作。
7.3名词术语定义
主要江河:金沙江、把关河、拉罗箐河。
重点中型水库:指水库防洪影响人口多、涉及范围广,下游资产密集,防洪减灾作用显著的中型水库。如:梅子箐水库。
一般中型水库:除上述重点中型水库外的中型水库(无)。
重点小(一)型水库:指大坝失事后,可能危及下游重要城镇、工矿区、铁路、公路干线等重要政治经济设施的小型水库(无)。
一般小(一)型水库:除上述重点小(一)型水库外的小型水库(无)。
一般小(二)型水库:库容在10万m³~100万m³之间的小型水库。如:三洞桥水库、龙洞水库。
三个避让:主动避让,提前避让,预防避让。
三个紧急撤离:危险隐患点发生强降雨时要紧急撤离,接到暴雨蓝色及以上预警或预警信号要立即组织高风险区域群众紧急撤离,出现险情征兆或对险情不能准确研判时要紧急撤离。
三单一书:领导干部责任清单、部门职责清单、隐患风险清单和一项承诺书。
两书一函:约谈通知书、整改通知书和提醒敦促函。
四不两直:不发通知、不打招呼、不听汇报、不用陪同接待、直奔基层、直插现场。
7.4预案解释
本预案由区防办负责解释。
7.5实施时间
本预案自印发之日起实施,《攀枝花市西区防汛抗旱应急预案(2022年修订)》(攀西府办发〔2022〕13号)同时废止。
附件:1.攀枝花市西区防汛抗旱组织指挥体系图
2.攀枝花市西区防汛抗旱指挥部专项工作组构成及职责
3.攀枝花市西区防汛抗旱应急响应流程图
4.攀枝花市西区干旱灾害分级标准
5.攀枝花市西区防汛抗旱应急响应启动条件汇总表
附件2
|
分工 分组 |
综合协调组 |
抢险救援组 |
紧急撤离组 |
技术保障组 |
通信电力保障组 |
交通保障组 |
|
牵头 单位 |
区应急管理局、区水利局 |
区应急管理局、区水利局 |
区水利局、市自然资源和规划局西区分局 |
区水利局 |
区经济和信息化局、国网攀枝花市西区供电分公司 |
区农业农村 和交通运输局 |
|
成员 单位 |
区发展改革局、市公安局西区分局、市自然资源和规划局西区分局、区农业农村和交通运输局等有关单位。 |
区人武部、市公安局西区分局、市自然资源和规划局西区分局、区住房城乡建设局、区农业农村和交通运输局、区水利局、区消防救援大队等有关单位。 |
区人武部、格里坪镇、各街道等有关单位 |
市自然资源和规划局西区分局等有关单位。 |
区发展改革局、区经济和信息化局、中国电信攀枝花市西区分公司、中国移动攀枝花市西区分公司、中国联通攀枝花市西区分公司等有关单位。 |
市公安局西区分局等有关单位。 |
|
工作 职责 |
传达贯彻党中央、国务院指示,传达执行国家防总,省委、省政府,市委、市政府和区委、区政府指示、部署,做好防汛抗旱综合协调工作。汇总报送灾险情动态和应急工作进展情况等。完成区防指交办的其他任务。 |
负责组织指导救援救助受灾群众,统筹各有关力量实施抢险救援救灾工作。完成区防指交办的其他任务。 |
危险隐患点发生强降雨时立即紧急撤离受威胁群众;接到暴雨蓝色及以上预警或预警信号立即组织高风险区域群众紧急撤离;出现险情征兆或对险情不能准确研判时立即紧急撤离受威胁群众。完成区防指交办的其它任务。
|
负责做好气象收集转发、地质方面等信息保障。密切监视汛情、险情、灾情及次生衍生灾害发展态势,及时组织会商研判,为应急抢险救援提供决策咨询。完成区防指交办的其他任务。 |
负责应急通信、电力等保障工作;组织抢修供电、供气、通信等设施。完成区防指交办的其他任务。 |
负责做好交通运输保障。实施必要的交通疏导和管制,维护交通秩序;协调组织优先运送伤员和抢险救援救灾人员、物资、设备。完成区防指交办的其他任务。 |
|
分工 分组 |
灾情评估组 |
群众安置组 |
医疗救治组 |
社会治安组 |
宣传报道组 |
其他工作组 |
|
牵头 单位 |
区应急管理局、区水利局 |
区应急管理局、区发展改革局 |
区卫生健康局 |
市公安局西区分局 |
区委宣传部 |
牵头单位、成员单位和工作职责等根据需要调整设置。 |
|
成员 单位 |
市自然资源和规划局西区分局、区住房城乡建设局、区农业农村和交通运输局等有关单位。 |
区教育和体育局、区民政局、区财政局、市自然资源和规划局西区分局、区住房城乡建设局、区水利局、区商务局、区文广旅局等有关单位。 |
区经济和信息化局等有关单位。 |
区人武部等有关单位。 |
区水利局、区应急管理局、区文广旅局、市公安局西区分局等有关单位。 |
|
|
工作 职责 |
负责水旱灾害事件灾情统计、核查和灾害损失评估、灾害调查评估。完成区防指交办的其他任务。 |
负责受灾群众(游客)转移安置和基本生活保障。对安置场所进行灾害风险评估;及时组织调拨救灾款物,视情开展救灾捐赠;做好受灾人员家属抚慰和因灾遇难人员遗体处置工作。完成区防指交办的其他任务。 |
负责医疗救(援)治和卫生防疫工作。加强医疗物资的组织调度,做好救援人员的医疗保障工作;做好洪灾及次生衍生灾害发生后疾病预防控制和卫生监督工作。完成区防指交办的其它任务。 |
负责灾区社会治安维稳工作。预防和打击各类犯罪活动,预防和处置群体事件;做好灾区重要目标安全保卫工作。完成区防指交办的其他任务。 |
统筹新闻报道工作。指导做好现场发布会和新闻媒体服务管理;组织开展舆情监测研判,加强舆情管控。完成区防指交办的其他任务。 |
附件3
![]()
![]()
攀枝花市西区防汛抗旱应急响应流程图

附件4
干旱灾害按灾情程度分为特别重大、重大、较大和一般灾害四级。符合下列条件之一的,确定为相应级别的干旱灾害。
单位:万亩、万人
|
干旱 类型 |
时段 |
特别重大 |
重大 |
较大 |
一般 |
||||
|
作物受旱面积(I) |
因旱饮水困难人数(N) |
作物受旱面积(I) |
因旱饮水困难人数(N) |
作物受旱面积(I) |
因旱饮水困难人数(N) |
作物受旱面积(I) |
因旱饮水困难人数(N) |
||
|
冬干 |
11月21日—2月28日 |
I>60% (I>138) |
N≥60% (N≥30) |
40%<I≤60% (92<I≤138) |
40%≤N<60% (20≤N<30) |
30%<I≤40% (69<I≤92) |
20%≤N<40% (10≤N<20) |
10%<I≤30% (23<I≤69) |
10%≤N<20% (5.5≤N<10) |
|
春旱 |
3月1日—5月5日 |
||||||||
|
夏旱 |
4月26日—7月5日 |
||||||||
|
伏旱 |
6月26日—9月10日 |
||||||||
|
牧区干旱 |
4月26日—7月15日 |
夏季牧草返青率≤40% |
40%<夏季牧草返青率≤60% |
60%<夏季牧草返青率≤80% |
80%<夏季牧草返青率≤85% |
||||
|
7月15日—9月15日 |
秋季牧草返青率≤40% |
40%<秋季牧草返青率≤60% |
60%<秋季牧草返青率≤80% |
80%<秋季牧草返青率≤85% |
|||||
|
城市干旱 |
|
连续15天城市供水率≤75% |
75%<连续15天城市供水率≤85% |
85%<连续15天城市供水率≤90% |
90%<连续15天城市供水率≤95% |
||||
说明:1.作物受旱面积:指在田作物受旱面积。受旱期间能保证灌溉的面积,不列入统计范围。2.因旱饮水困难人数:指由于干旱导致基本生活用水量低于35升/(人·天),且持续15天以上的人口数。
附件5
攀枝花市西区防汛抗旱应急响应启动条件汇总表
|
分类
启动条件 响应 |
应急响应分级 |
||||
|
一级响应 |
二级响应 |
三级响应 |
四级响应 |
||
|
暴雨预警 |
省、市气象台连续2天发布红色预警 |
省、市气象台发布红色预警或连续2天发布橙色预警 |
省、市气象台发布橙色预警或连续2天发布黄色预警 |
省、市气象台发布黄色预警或连续2天发布蓝色预警 |
|
|
江河洪水重现期 |
全区范围内主要江河出现洪峰或洪量重现期大于100年一遇(含100年) |
全区范围内主要江河出现洪峰或洪量重现期大于50年一遇(含50年)、小于100年一遇;洪峰或洪量重现期大于100年一遇(含100年) |
全区范围内主要江河出现洪峰或洪量重现期大于20年一遇(含20年)、小于50年一遇;洪峰或洪量重现期大于50年一遇(含50年)、小于100年一遇 |
洪峰或洪量重现期大于20年一遇(含20年)、小于50年一遇 |
|
|
险情 |
城市内涝 |
道路积水,积水深度大范围在1米以上,引发大面积停电停水停气、交通中断或瘫痪,城市运行受到严重影响 |
道路积水,城市道路积水深度部分在1米以上,城市较大面积停电停水停气、交通中断或瘫痪,城市运行受到严重影响 |
道路积水深度大范围在0.5米以上、1米以下,引发城市部分区域停电停水停气、交通中断或瘫痪,城市运行受到较大影响 |
道路积水深度大范围在0.3米以上、0.5米以下,城市部分区域停电停水停气、交通中断或瘫痪,城市运行受到影响 |
|
险情 |
水库 |
重点中型及以上水库(水电站)垮坝 |
重点中型及以上水库水电站出现可能导致溃坝险情,重点小(1)型水库垮坝 |
一般中型水库、重点小(1)型水库出现可能导致溃坝的险情或小(2)型水库发生垮坝 |
一般小(1)型水库、小(2)型水库发生可能导致溃坝的险情 |
|
堰塞湖 |
|
出现按《堰塞湖风险等级划分与应急处置技术规范》(SL/T450—2021)划分的I级风险堰塞湖 |
出现按《堰塞湖风险等级划分与应急处置技术规范》(SL/T450—2021)划分的Ⅱ级风险堰塞湖 |
出现按《堰塞湖风险等级划分与应急处置技术规范》(SL/T450—2021)划分的Ⅲ级风险堰塞湖 |
|
|
堤防 |
主要江河城区堤防段发生溃决 |
主要江河非城区堤防段或一般江河城区堤防段发生溃决 |
主要江河城区堤段或一般江河城区堤段发生重大险情 |
主要江河城区堤段或一般江河城区堤段发生险情 |
|
|
干旱 |
发生特别重大干旱灾害 |
发生重大干旱灾害 |
发生较大干旱灾害 |
发生一般干旱灾害 |
|
|
其他 |
其他需要启动一级响应的情况 |
其他需要启动二级响应的情况 |
其他需要启动三级响应的情况 |
其他需要启动四级响应的情况 |
|
注:当出现或可能出现以上条件之一,对影响程度、范围和发展趋势经综合会商研判后,启动相应级别应急响应。




川公网安备:51040302000006号